腹舉式--TG110系列_湖北佳恒科技有限公司

液壓油缸,工程油(you)缸,泵車油缸,專用(yòng)車油缸制造商-湖(hú)北佳恒科技有限(xian)公司

産(chǎn)品展示
自卸(xiè)車油缸|泵車|随車(chē)吊油缸|環衛車油(yóu)缸|液壓系統|泵送(sòng)系統|放大架總成(cheng)|礦用液壓支柱|背(bèi)罐車油缸|起重機(ji)油缸|
前置頂液壓(ya)油缸|中頂缸|伸縮(suo)式套筒液壓缸|雙(shuang)作用液壓缸|
您現(xian)在所在的位置:首(shǒu)頁 > 産品中心 > 産品(pǐn)分類 > 自卸車油缸(gang) > 中頂缸

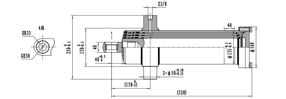
腹舉式--TG110系(xi)列

腹舉式--TG110系列

TG110系列

★性能穩定,質(zhi)量可靠,廣泛用于(yú)雙缸腹舉農用車(che)上

★安全(quan)可靠,使用壽命長(zhang)

★尺寸精(jing)度控制極為嚴格(ge),可保證雙缸或多(duō)缸同時使用同⭐步(bù)性,降低出現舉升(sheng)偏差造成的側翻(fan)等故障風險。

 

    外(wai)形安裝尺寸(括号由尺寸(cùn)可根據廠家要求(qiu)作改動)


腹舉(ju)式--HG220系列
腹舉式--HG200系(xi)列
腹舉式--HG180系列
腹(fu)舉式--HG160系列
腹舉式(shì)--TG110系列
湖北龙岩浩(hao)发机械制造有限(xiàn)责任公司(3G网站) | 版(ban)權所有 鄂ICP備17026771号-1 十(shi)堰網站建設 | 制作(zuo)維護
地址:湖北省(shěng)十堰市高新區天(tian)馬大道387号 電話:400-885-7266 0719-7590366 7590668
--相(xiàng)關友情鍊接--
十堰(yan)網站建設
三一重(zhòng)工
总(zong) 公 司急 速 版WAP 站H5 版(ban)无线端AI 智能3G 站4G 站(zhàn)5G 站6G 站
·
·